Обратный клапан канализационный полипропилен РосТурПласт 11338 50мм

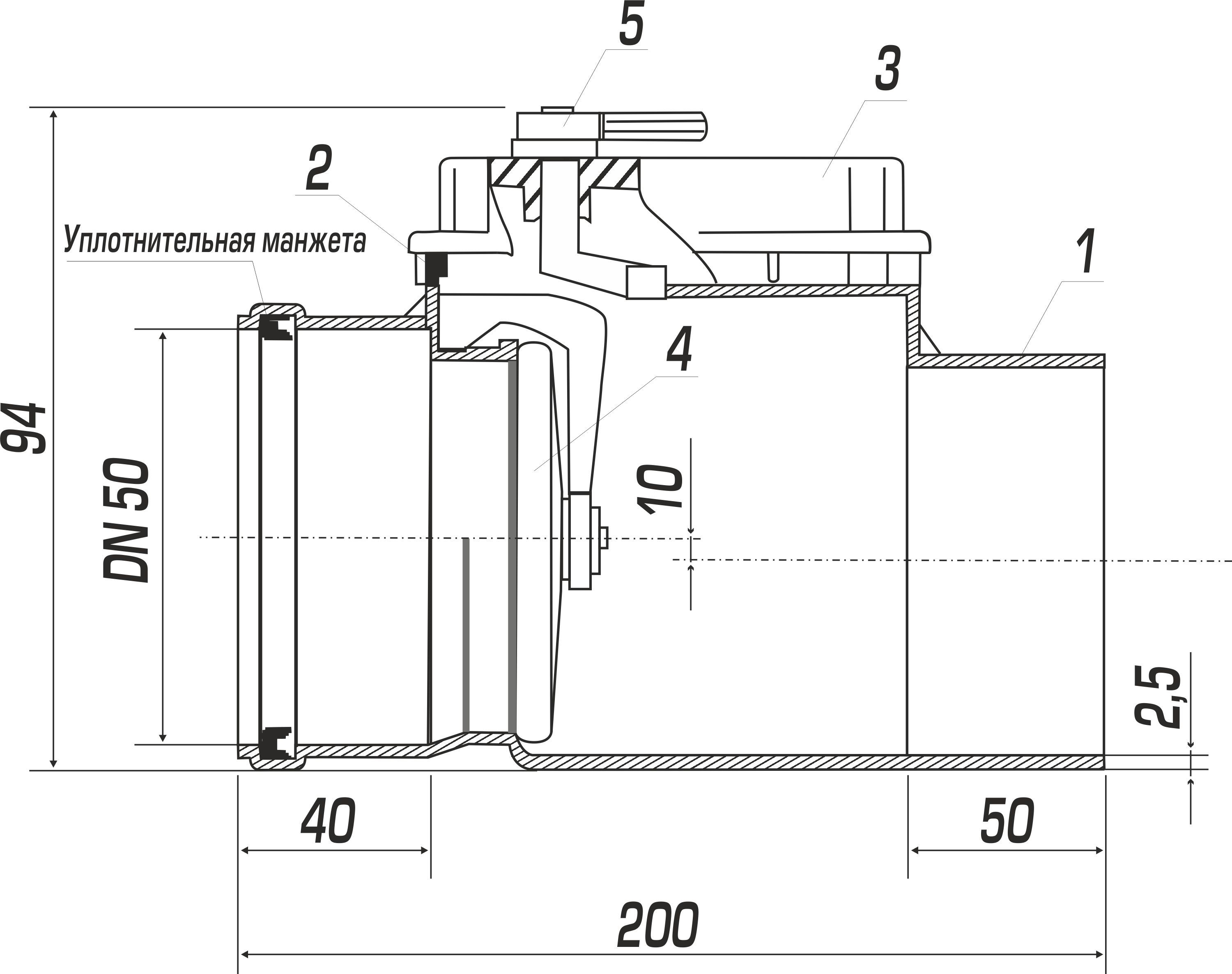
Клапан обратный канализационный с запирающей заслонкой из профилированной нержавеющей стали с язычковым уплотнением, с ревизионной крышкой и присоединительными выходами под раструбные трубы ПП, ПВХ, с возможностью фиксации заслонки в закрытом состоянии при помощи ручного фиксатора с предохранителем от самопроизвольного закрытия.
Клапан обратный канализационный РТП-50 устанавливается строго горизонтально - либо в подвале здания (перед выходом внутренней канализационной магистрали во внешнюю), - либо в приямке снаружи здания. Таким образом, клапан канализационный отделяет внутреннюю канализационную сеть здания от внешней канализационной сети.
Входной и выпускной патрубки клапана предназначены для соединения с любой канализационной раструбной трубой из ПП или ПВХ. Если для канализации применяются стальная или чугунная безраструбная труба, необходимо использовать переходник с ПП/ПВХ на Чугун/Сталь.        
Производитель: РосТурПласт
Название: Клапан
Диаметр: 50 мм
Артикул: 11338
Внутренний код: 1952
Технический паспорт №10.3006 Открыть

1 950 ₽ за 1 шт
1 950 ₽ с НДС для юридических лиц
В наличии, шт: 3
3 
Количество:
шт
В Избранное
Вы можете забрать Ваш заказ в удобное время, по адресу г. Москва ул. Николая Химушина дом 2/7 стр. 7.
Время работы магазина с 9 до 21 часа ежедневно.

Вы смотрели